
一、产品平行式双闸板闸阀的详细资料:
产品名称:平行式双闸板闸阀
产品特点:Z44T/W-10型平行式双闸板闸阀,平行式双闸板闸阀,双闸板闸阀本阀广泛适用于石油、化工、制药、电力等行业.在公称压力≤l,0MPa的蒸汽、水、油类等介质的管路上,作启闭用。
二、性能规范:
|
型号 |
公称压力(MPa) |
试验压力(MPa) |
工作温度(℃) |
适用介质 |
|
|
强度(水) |
密封(水) |
||||
|
Z44T-10 |
1.0 |
1.5 |
1.1 |
≤120 |
蒸汽、水 |
|
Z44W-10 |
≤100 |
油品、煤气 |
|||
三、主要零件材料:
|
零件名称 |
材料 |
|
|
Z44T-110 |
Z44W-10 |
|
|
阀体、阀盖、阀轮 |
灰铸铁 |
灰铸铁 |
|
阀板 |
灰铸铁+黄钢 |
灰铸铁 |
|
阀杆 |
碳钢 |
碳钢 |
|
丁楔 |
铸钢 |
铸钢 |
|
阀杆螺母 |
青钢 |
青钢 |
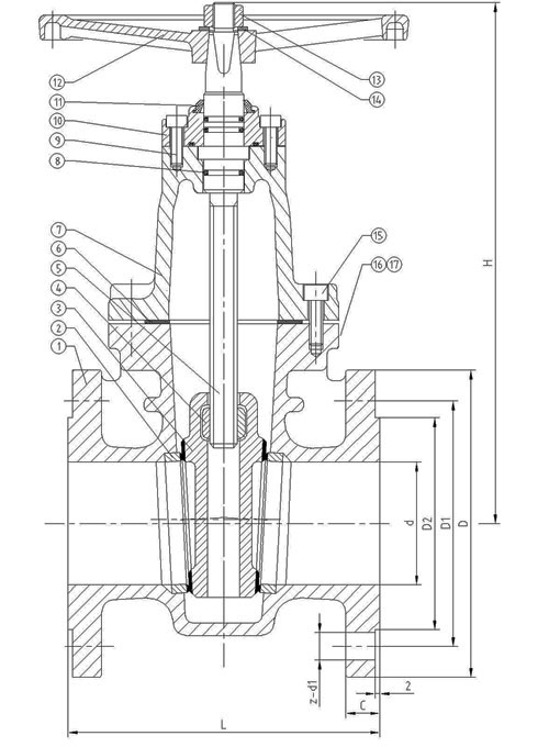
四、平行式双闸板闸阀外形尺寸和连接尺寸:
|
型号 |
公称通径DN(mm) |
尺寸 |
重量(kg) |
|||||||
|
L |
D |
D1 |
D2 |
b-f |
Z-Φd |
H |
Do |
|||
|
Z44T-10 |
40 |
165 |
145 |
145 |
85 |
18-3 |
4-18 |
240 |
135 |
16.5 |
|
50 |
180 |
160 |
160 |
100 |
20-3 |
4-18 |
260 |
180 |
20 |
|
|
65 |
195 |
180 |
180 |
120 |
20-3 |
4-18 |
300 |
180 |
25.5 |
|
|
80 |
210 |
195 |
195 |
135 |
22-3 |
4-18 |
345 |
200 |
31 |
|
|
100 |
230 |
215 |
215 |
155 |
22-3 |
8-18 |
395 |
200 |
47 |
|
|
125 |
255 |
245 |
245 |
185 |
24-3 |
8-18 |
478 |
240 |
64 |
|
|
150 |
280 |
280 |
280 |
210 |
24-3 |
8-23 |
558 |
240 |
100 |
|
|
200 |
330 |
335 |
335 |
265 |
26-3 |
8-23 |
720 |
320 |
144 |
|
|
250 |
380 |
390 |
390 |
320 |
28-3 |
12-23 |
845 |
320 |
-
|
|
|
300 |
420 |
440 |
440 |
368 |
28-4 |
12-23 |
990 |
400 |
-
|
|
|
350 |
450 |
500 |
500 |
428 |
30-3 |
16-23 |
1100 |
400 |
-
|
|
|
400 |
480 |
565 |
565 |
482 |
32-3 |
16-25 |
1200 |
500 |
-
|
|
|
450 |
510 |
615 |
615 |
532 |
32-3 |
20-25 |
1300 |
500 |
-
|
|
|
500 |
540 |
670 |
670 |
585 |
34-3 |
20-25 |
1500 |
500 |
-
|
|
订货须知:
一、①平行式双闸板闸阀产品名称与型号②平行式双闸板闸阀口径③平行式双闸板闸阀是否带附件以便我们的为您正确选型。
二、若已经由设计单位选定公司的平行式双闸板闸阀型号,请按平行式双闸板闸阀型号直接向我司销售部订购。
三、当使用的场合非常重要或环境比较复杂时,请您尽量提供设计图纸和详细参数,由我们的专家为您审核把关。
感谢您访问我们的网站,如有任何疑问.您可以致电给我们,我们一定会尽心尽力为您提供优质的服务。