
一 产品用途:
高压锻钢系列截止阀不仅适用中低压场合,而且适用于高压石油、化工、制药、化肥、电力等各种工况,截断或接通管路介质。
二:产品特点
1.结构紧凑、造型美观、缩径流道。
2.密封面采用合金钢或是硬质合金,密封副材料配对合理,适用寿命长。
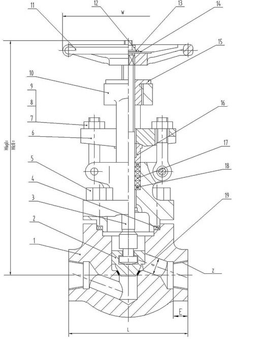
3. 截止阀的阀杆轴线与阀座密封面垂直。阀杆开启或关闭行程相对较短,并具有非常可靠的切断动作,使得这种阀门非常适合作为介质的切断或调节及节流使用
4.可选用各种配管标准及连接形式(如承插焊、对焊、螺纹、法兰)
5.在开启和关闭过程中,由于阀瓣于阀体密封面间的摩擦力比闸阀小,因而耐磨。 开启高度一般仅为阀座通道直径的1/4,因此比闸阀小的多。 通常在阀体和阀瓣上只有一个密封面,因而制造工艺性比较好,便于维修。
三 基本参数
1.公称压力或压力级:PN1.0-16.0MPa、ANSI CLASS 150-900、JIS10-20K
2.公称通径或口径:DN10~500、NPS 1/2 ~36"
3.连接方式:法兰、对焊、螺纹等适用温度:-196℃~700℃
4. 驱动方式:手动、伞齿轮传动、气动、电动、液动、气液联动、电液联动
5.阀体材料:WCB、ZG1Cr18Ni9Ti、ZG1Cr18Ni12Mo2Ti、CF8(304)、CF3(304L)、CF8M(316)、CF3M(316L)、Ti。选用不同的材质,可分别适用于水、蒸汽、油品、硝酸、醋酸、氧化性介质、尿素等多种介质。
四:【执行标准】
设计制造:GB12224 GB/T12228 BG/T12235
结构长度:JB/T96-95
法兰尺寸:JB/T82.1~82.4-94
检验和试验:GB/T13927
五:性能参数表
|
基本型号 |
J61H |
J41H |
J11H |
|
|
工作压力(Mpa) |
PN1.6—PN42(CLASS150—CLASS2500) |
|||
|
公称通径(DN mm) |
DN15-DN50 1/2" --2" |
|||
|
适用介质 |
水、油、气、醋酸类、硝酸类等各种介质 |
|||
|
材质 |
阀体 |
A105、LF2、F11、F5、F304、F304L、F321、F316、F316L |
||
|
阀瓣 |
A105、LF2、F11、F5、F304、F304L、F321、F316、F316L |
|||
|
阀杆 |
A105、LF2、F11、F5、F304、F304L、F321、F316、F316L |
|||
|
密封面 |
司太立合金 |
|||