
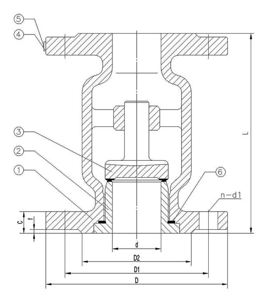
一、产品升降止回阀的详细资料:
产品型号:H42型
产品名称:升降止回阀
二、应用规范:
1、设计制造按12236—89
2、结构长度按SDV公司规定
3、法兰型式及尺寸JB/T79 94
4、阀门检查和试验按API STD 598
三、主体材质:
CF8、CF3、CFSM、CF3M WC6
四、升降止回阀1.6MPa主要连接尺寸及重量:
|
尺寸 |
DN |
15 |
20 |
25 |
32 |
40 |
50 |
65 |
80 |
100 |
125 |
150 |
200 |
|
L |
mm |
105 |
105 |
105 |
150 |
160 |
170 |
180 |
200 |
210 |
275 |
300 |
380 |
|
D |
mm |
95 |
105 |
115 |
135 |
145 |
160 |
180 |
195 |
215 |
245 |
280 |
335 |
|
重量 |
kg |
- |
- |
- |
- |
- |
7.9 |
11 |
12 |
19.5 |
36 |
47 |
65 |
五、升降止回阀2.5MPa主要连接尺寸及重量:
|
尺寸 |
DN |
20 |
25 |
32 |
40 |
50 |
65 |
80 |
100 |
125 |
150 |
200 |
|
L |
mm |
105 |
105 |
150 |
160 |
170 |
180 |
200 |
210 |
275 |
300 |
380 |
|
D |
mm |
105 |
115 |
135 |
145 |
160 |
180 |
195 |
230 |
275 |
300 |
360 |
|
重量 |
kg |
- |
- |
- |
- |
7.9 |
11 |
12 |
20 |
38 |
48 |
70 |
六、升降止回阀4.0MPa主要连接尺寸及重量:
|
尺寸 |
DN |
50 |
65 |
80 |
100 |
125 |
150 |
200 |
|
L |
mm |
170 |
180 |
200 |
210 |
275 |
300 |
380 |
|
D |
mm |
160 |
180 |
195 |
230 |
270 |
300 |
375 |
|
重量 |
kg |
7.9 |
11 |
12 |
20 |
38 |
48 |
72 |
订货须知:
一、①升降止回阀产品名称与型号②升降止回阀口径③升降止回阀是否带附件以便我们的为您正确选型。
二、若已经由设计单位选定公司的升降止回阀型号,请按升降止回阀型号直接向我司销售部订购。
三、当使用的场合非常重要或环境比较复杂时,请您尽量提供设计图纸和详细参数,由我们的专家为您审核把关。
感谢您访问我们的网站,如有任何疑问.您可以致电给我们,我们一定会尽心尽力为您提供优质的服务