
一、产品对夹双瓣旋启式止回阀的详细资料:
产品型号:H76
产品名称:对夹双瓣旋启式止回阀
产品特点:对夹式止回阀适用于公称压力PNl.0MPa~42 0MPa、Classl50~2500;公称通径DNl5~1200mm、NPsl/2—48.工作温度一l96—540℃的各种管路上,月于防止介质剖流。通过选月不同的材质.可适月于水、蒸汽、油品、硝酸、强氧化性介质及尿素等多种介质。
二、标准与规范:
1、设计秘制造:APl594、AP 6D、JB,T8937;
2、结构长度:API594、APl60、DlN3202、JB/T8937,
3、压力一温度等级? ANsIBl6.34、DlN2401、GB/T 9124、HG20604、HG20625、SH3406、JB,T74,
4、试验与检验AP 598、JB/T 9092:
5、配管法兰JB,T74~90、GB/T 9112~9124、HG20592~20635、sH3406、ANsIB16 5、DlN2543~2548、GB/T 13402、APl605、ASMEBl6 47.
三、结构特点:
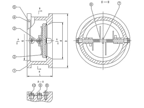
1、结构长度短.其结构长度只有传统法兰止回阀的1/4~1/8;
2、体积小,、重量轻,其重量只有传统法兰止回目的1/4~1/20;
3、阀瓣尖闭快速.水锤压力小:
4、水平管道或垂直管道均可使月.安装方便;
5、流道通畅、流体阻力小.
6、动作i敏、密封性能好;
7、目瓣行程短、关阀冲击力小;
8、整体结构、简单紧凑、造型美观
9、使月寿命长、可靠性高。
四、旋启式止回阀对比:
|
结构形式 |
H76型对夹双瓣旋启式止回阀 |
H44型法兰单瓣旋启式止回阀 |
|
水锤压力 |
小.阀瓣行程短、且有弹簧辅助关闭、关阀速度快 |
很大,阀瓣行程,需要较长的关闭时间 |
|
H76型的水锤压力只有H44型的1/2—1/5 |
||
|
尺寸和重量 |
结构长度很短、体积小、重量轻、为阀门的安装、搬运、存放及管道在布置带来很大的便利,并能大量节约材料、降低造价 |
结构长度很长,体积笨大.重量很重 |
|
H76型的结构长度只有H44型的1/4~1/10 H76型的重量只有H44型的l/4~1/10 |
||
|
流体阻力 |
小,流体阻力系数为2.6~0.7,随着阀门口径的增大,流体组力系数减小 |
?小,流体阻力系数为1.3~3,但在低压工况下,阀瓣不能完且开启,流体阻力大。流体阻力随着阀门口径的增大而增大 |
|
安装 |
可水平安装或垂直安装,重量轻.不必为阀门设置支座 |
可水平安装或垂直安装.大口径阀阀重量重,需设置支座 |
|
开启压力 |
很小.阀瓣在很小的压差下就能完全打开 |
较大,阀瓣在较大的压差下才能完全打开 |
|
可靠性 |
阀门为整体结构、简单紧凑,阀门关闭时冲击力注,水锤压力小,阀门帮命长,可靠性高 |
阀门关时的巨大冲击力及水锤压力容易损坏阀门 |
五、升降式止回阀对比:
|
结构形式 |
H71型对夹升降式止回阀 |
H41型法兰升降式止回阀 |
|
水锤压力 |
很小、阀瓣行程短、阀瓣轻巧、且有弹簧辅助关闭、关阀速度很快 |
水、阀瓣行程短,但无弹簧辅助关闭 |
|
尺寸和重量 |
结构长度很短、体积很小、重量很径、为阀门的安装、搬运、存放及管道的布置带来很大的便利,关能大量节约材料、降低造价 |
结构长度很长,体积较大、重量很重 |
|
H71型的结构长度只有H41型的1/4~1/8,H71型的重量只有H41型1/7~1/20 |
||
|
流体阻力 |
较大、流体阻力系数为6.4~2.8 |
很体阻力系数为12~6 |
|
安装 |
可水平安装或垂直安装,重量很轻,安装容易 |
只能水平安装,口径较大的阀门重量,较难安装 |
|
开启压力 |
很小、阀瓣在很小的压差下就能完全打开 |
较小、阀瓣重量较大,需要一定的压差才能半阀瓣完全打开 |
|
可靠性 |
阀门为整体结构,简单紧凑,阀门关闭时冲击为小,水锤压力很小,阀门寿命长,可靠性高 |
可靠性较高,但阀门由阀体与阀盖两本构成,多了一个潜在的泄漏点 |
六、流体力学性能:H76对夹双瓣旋启式止回阀的流体阻力系数、流量系数及开启压力:
|
公称通径 |
阀门全开启时的流体阻力系数 |
常温下阀门全开启时的水流量系数 |
流体的流向 |
||||
|
DN |
NPS |
||||||
|
Kv(m3/h) |
CV(U.S) |
CV(U.K) |
↑ |
→ |
|||
|
开启压力近似值KPa |
|||||||
|
50 |
5 |
2.6 |
63 |
74 |
62 |
2 |
1 |
|
65 |
21/2 |
2.4 |
109 |
128 |
107 |
2 |
1 |
|
80 |
3 |
2.3 |
172 |
201 |
169 |
2 |
1 |
|
100 |
4 |
2.0 |
289 |
338 |
283 |
2 |
1 |
|
125 |
5 |
1.8 |
476 |
557 |
466 |
2 |
1 |
|
150 |
6 |
1.5 |
750 |
878 |
735 |
2 |
1 |
|
200 |
8 |
1.3 |
1432 |
1675 |
1403 |
2 |
1 |
|
250 |
10 |
1.2 |
1330 |
2726 |
2283 |
2 |
1 |
|
300 |
12 |
1.0 |
3676 |
4301 |
3602 |
2 |
1 |
|
350 |
14 |
0.9 |
5274 |
6171 |
5169 |
2 |
1 |
|
400 |
16 |
0.8 |
7306 |
8548 |
7160 |
3 |
1 |
|
450 |
18 |
0.8 |
9246 |
10818 |
9061 |
3 |
1 |
|
500 |
20 |
0.8 |
11415 |
13356 |
11187 |
3 |
1 |
|
600 |
24 |
0.7 |
17573 |
20560 |
17222 |
3 |
1 |
|
700 |
28 |
0.7 |
23919 |
27985 |
23441 |
4 |
1 |
|
750 |
30 |
0.7 |
27458 |
32126 |
26909 |
4 |
1 |
|
800 |
32 |
0.7 |
31241 |
36552 |
30316 |
4 |
1 |
|
900 |
36 |
0.7 |
39539 |
46261 |
38748 |
4 |
1 |
|
1000 |
40 |
0.7 |
48814 |
57112 |
47838 |
4 |
1 |
|
1050 |
42 |
0.7 |
53817 |
62966 |
52741 |
4 |
1 |
|
1200 |
48 |
0.7 |
70292 |
82242 |
68886 |
4 |
1 |
|
配管法兰 |
公称压力 |
常规产品型号 |
||||||
|
JB/T74~90 |
PN1.0MPa |
H76H-10C |
H76W-10P |
H76W-10P8 |
H76W-10P3 |
H76W-10R |
H76W-10R8 |
H76W-10R3 |
|
PN1.6MPa |
H76H-16C |
H76W-16P |
H76W-16P |
H76W-16P3 |
H76W-16R |
H76W-16R8 |
H76W-16R3 |
|
|
PN2.5MPa |
H76H-25 |
H76W-25P |
H76W-25P8 |
H76W-25P3 |
H76W-25R |
H76W-25R8 |
H76W-25R3 |
|
|
PN4.0MPa |
H76H-40 |
H76W-40P |
H76W-40P8 |
H76W-40P3 |
H76W-40R |
H76W-40R8 |
H76W-40R3 |
|
|
PN6.3MPa |
H76H-63 |
H76W-63P |
H76W-63P8 |
H76W-63P3 |
H76W-63R |
H76W-63R8 |
H76W-63R3 |
|
|
PN10.0MPa |
H76H-100 |
H76W-100P |
H76W-100P8 |
H76W-100P3 |
H76W-100R |
H76W-100R8 |
H76W-100R3 |
|
|
PN13.0MPa |
H76H-160 |
H76W-160P |
H76W-160P8 |
H76W-160P3 |
H76W-160R |
H76W-160R8 |
H76W-160R3 |
|
|
PN20.0MPa |
H76H-200 |
H76W-200P |
H76W-200P8 |
H76W-200P3 |
H76W-200R |
H76W-200R8 |
H76W-200R3 |
|
|
PN25.0MPa |
H76H-250 |
H76W-250P |
H76W-250P8 |
H76W-250P3 |
H76W-250R |
H76W-250R8 |
H76W-250R3 |
|
|
GB/T9112~9124 |
PN2.0MPa |
H76H-20C |
-
|
H76W-20P8 |
H76W-20P3 |
-
|
H76W-20R8 |
H76W-20R3 |
|
PN5.0MPa |
H76H-50 |
-
|
H76W-50P8 |
H76W-50P3 |
-
|
H76W-50R8 |
H76W-50R3 |
|
|
PN11.0MPa |
H76H-110 |
-
|
H76W-110P8 |
H76W-110P3 |
-
|
H76W-110R8 |
H76W-110R3 |
|
|
PN15.0MPa |
H76H-150 |
-
|
H76W-150P8 |
H76W-150P3 |
-
|
H76W-150R8 |
H76W-150R3 |
|
|
PN26.0MPa |
H76H-260 |
-
|
H76W-260P8 |
H76W-260P3 |
-
|
H76W-260R8 |
H76W-260R3 |
|
|
PN42.0MPa |
H76H-420 |
-
|
H76W-420P8 |
H76W-420P3 |
-
|
H76W-420R8 |
H76W-420R3 |
|
|
-
|
Class150 |
H76H-A1C |
-
|
H76W-A1P8 |
H76W-A1P3 |
-
|
H76W-A1R8 |
H76W-A1R3 |
|
Class300 |
H76H-A3 |
-
|
H76W-A3P8 |
H76W-A3P3 |
-
|
H76W-A3R8 |
H76W-A3R3 |
|
|
Class600 |
H76H-A6 |
-
|
H76W-A6P8 |
H76W-A6P3 |
-
|
H76W-A6R8 |
H76W-A6R3 |
|
|
Class900 |
H76H-9 |
-
|
H76W-9P8 |
H76W-9P3 |
-
|
H76W-9R8 |
H76W-9R3 |
|
|
Class1500 |
H76H-15 |
-
|
H76W-15P8 |
H76W-15P3 |
-
|
H76W-15R8 |
H76W-15R3 |
|
|
Class2500 |
H76H-A25 |
-
|
H76H-A25P8 |
H76H-A25P3 |
-
|
H76H-A25R8 |
H76H-A25R3 |
|
|
主要 |
阀体 |
WCB(A105) |
ZG1Cr18Ni9Ti |
CFB(304) |
CF3(304L) |
ZG1Cr18Ni12Mo2Ti |
CF8M(316) |
CF3M(316M) |
|
阀擗 |
CF8 |
CF8 |
CF8 |
CF3 |
CF9M |
CF8M |
CF3M |
|
|
目轴 |
2Cr13 |
1Cr18Ni9Ti |
0Cr18Ni9 |
00Cr19Ni10 |
ZG1Cr18Ni12Mo2Ti |
0Cr17Ni12Mo2 |
00Cr17Ni14Mo2 |
|
|
弹簧 |
0Cr18Ni9 |
0Cr18Ni9 |
0Cr18Ni9 |
00Cr19Ni10 |
00Cr17Ni14Mo2 |
00Cr17Ni14Mo2 |
00Cr17Ni14Mo2 |
|
|
适用工况 |
适月介质 |
水、蒸汽、 |
硝酸等腐蚀性介质 |
强氧化性介质 |
醋酸等腐蚀性介质 |
屎素等腐 |
||
|
适用温度(℃) |
-29~425 |
-196~540 |
-196~425 |
-196~540 |
-196~455 |
|||
|
注:本表为常规对夹式止回阀的型号编制、主要零件材料及适用工况,其他要求及其型号编制参见对夹式止回阀型号编制方法。 |
||||||||
|
||||||||||||||||||||||||||||||||||||||||||||||||||||||||||||||||||||||||||||||||||||||||||||||||||||||||||||||||||||||||||||||||||||||||||||||||||||||||||||||||||